
New York Central / Evans Auto Carrier

.
Along about the year 1954, in conjunction with the Evans Products company, the New York Central Railroad converted a single one of their 53' 6" GATC flat cars, #500085, into an open-side auto carrier capable of carrying six automobiles. The conversion utilized a modified version of the Evans "Auto-Loader" system which was typically installed inside of boxcars.
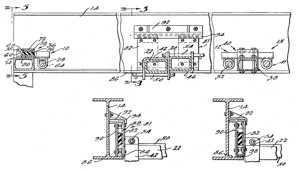
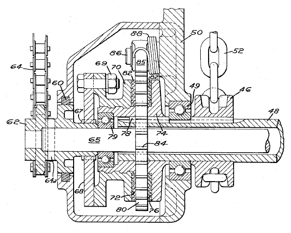
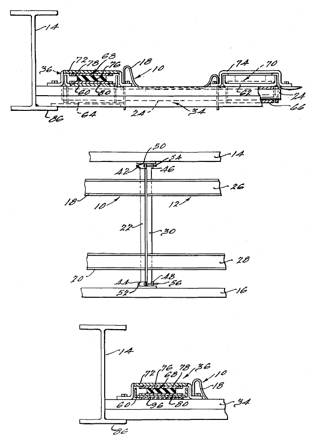
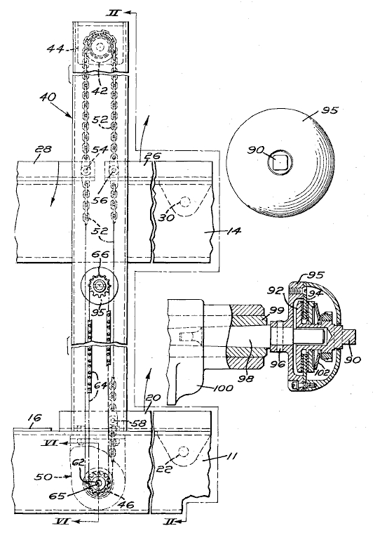
The problem at that time with the use of the Auto-Loader inside box cars was the slow process of loading each boxcar individually since the ramps inside every boxcar had to be lowered and raised three or four times (with the autos on it) to get the autos onto the top row of the rack. This experimental auto-carrier solved that problem by having open sides for drive-on loading as well as open ends with drop-down end gates that would act as bridges between coupled carriers, enabling the autos to be driven from one carrier to the next. There were also two positionable ramps... a top ramp that lowered part the way on one end and a lower ramp that rose up part the way on one end to meet the now-lowered end of the top ramp. These ramps enabled the autos to be quickly driven up the ramp to the top deck. This method would have enabled all other carriers which were coupled to the first carrier to be loaded quickly and easily from the first by simply lowering the drop-ends on all coupled carriers and the ramp on only the first carrier.
Unfortunately, and for whatever reason, after the trial experiment, the NYC apparently wasn't sold on the idea, and only one of these cars was built. The Union Pacific Railroad and the Santa-Fe Railroad did have some similar cars, but they were not the same as the NYC/Evans car.
S-Helper Service already offers a GSC 53' 6" flat car in S scale that is IDEAL for a model of this car. It is the exact same length and has a very similar side profile and overhead profile. I talked with Don Thompson at SHS about offering an add-on, Evans auto-rack accessory kit to fit the GSC flat car, but he believes there would not be enough interest in it to justify production of just the rack as an accessory piece. So I have put this web page together to share what I've found about this car with all modelers... just in case someone wants to scratch-build one.
Check out the following photos and concept/patent drawings of the NYC car :
.
NYC GATC FLAT CAR DRAWING : |
PHOTOS : |
CONCEPT / PATENT DRAWINGS : |
The three photos above are the ONLY ones
I've been able to locate |
.
.
To S Scale Modeling Projects Page |
.
.
.
.
.
.
.
.
.
.
.
.
.
.
.
.
.
.
.
.
.
.
.
.
.